Schodišťové stupně 1100x270/30x30
Dostupnost: skladem
Kód: PS-XSL-014
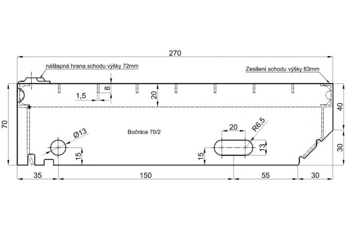
Pozinkované schodišťové stupně 1100x270 mm s okem 30x30 mm. Minimální garantovaná nosnost 204 kg. Hmotnost 7 kg. Třída protiskluzu R11. Vyrobeno dle DIN 24531-1. Stupně splňují normu pro úniková schodiště.
Detailní popis Schodišťové stupně 1100x270/30x30
Když dojde na instalaci schodišťových stupňů spolu s rošty, kreativitě se meze nekladou. Architekti i projektanti těží z technicko-futuristických vlastností těchto materiálů, které mohou mít šířku až 1.500 mm a při použití nosných profilů až 3.000 mm. Spojte ocelové rošty se schodišťovými stupni a získáte kvalitní, praktické a bezpečné schodiště.
Nabízíme schodišťové stupně, které mají široké uplatnění ať už jako součást schodišť pro průmyslové haly a objekty nebo jako venkovní schodiště třeba i pro Váš dům či chalupu.
*) n rozteč mezi upínacími otvory
-
Materiál:Žárový zinek
-
Typ:Lisované
-
Oko:30 x 30 mm
-
Šířka:1100 mm
-
Hloubka:270 mm
-
Rozteč montážních otvorů:150 mm
-
Min. nosnost:204 kg
-
Třída protiskluzu:R 11
- Hmotnost: 7,00 kg
Vybírejte z podobných produktů
Doprava od 225,- Kč
Na českém trhu od roku 2008
Standardní doručení do 2 prac. dní
Široký sortiment skladem
DĚROVANÉ PLECHY SVS s.r.o.
Radim 101 (mapa)
Luže 538 54
Česká republika
O nakupování & účet
Další informace
